不銹鋼系列深井泵是引進國外泵業公司,制泵技術生產的,耐磨型電泵,動力部份配用目前,生產的水浸式不銹鋼潛水電機,對水質 無污染,是當前國內外深井泵 。選用 不銹鋼外殼、軸芯、聯軸器、入水座和泵頭(或銅合金入水座、泵頭), 抗耐磨 復合高分子材料葉輪和不銹鋼導流殼,全新“浮動式”結構葉輪在工作期間對電機無軸向壓力。特別適用于工礦業、農業、建筑業、養殖業、食品飲料業及家庭式(或高層送水使用)。
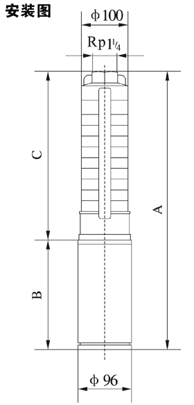
深井泵QJ系列1、不銹鋼深井泵外形尺寸圖
|
|
泵型號
|
尺寸(mm)
|
重量
(kg)
|
|
A
|
B
|
C
|
|
QJ1-6
|
667
|
370
|
297
|
12
|
|
QJ1-9
|
730
|
370
|
360
|
13
|
|
QJ1-13
|
824
|
380
|
444
|
15
|
|
QJ1-17
|
928
|
400
|
528
|
17
|
|
QJ1-21
|
1052
|
440
|
612
|
19
|
|
QJ1-25
|
1136
|
440
|
696
|
20
|
|
QJ1-28
|
1229
|
470
|
759
|
23
|
|
QJ1-32
|
1313
|
470
|
843
|
24
|
|
QJ1-36
|
1397
|
470
|
927
|
25
|
|
QJ1-39
|
1500
|
510
|
990
|
29
|
|
QJ1-42
|
1563
|
510
|
1053
|
30
|
|
QJ1-46
|
1647
|
510
|
1137
|
31
|
|
QJ1-50
|
1731
|
510
|
1221
|
32
|
深井泵QJ系列3、不銹鋼深井泵 外形尺寸圖
|
|
泵型號
|
尺寸(mm)
|
重量
(kg)
|
|
A
|
B
|
C
|
|
QJ3-6
|
667
|
370
|
297
|
12
|
|
QJ3-9
|
740
|
380
|
360
|
13
|
|
QJ3-12
|
823
|
400
|
423
|
16
|
|
QJ3-15
|
926
|
440
|
486
|
18
|
|
QJ3-18
|
999
|
440
|
549
|
19
|
|
QJ3-22
|
1103
|
470
|
633
|
22
|
|
QJ3-27
|
1248
|
510
|
738
|
27
|
|
QJ3-32
|
1353
|
510
|
843
|
28
|
|
QJ3-38
|
1589
|
620
|
969
|
31
|
|
QJ3-43
|
1694
|
620
|
1074
|
32
|
深井泵QJ系列5、不銹鋼深井泵 外形尺寸圖
|
|
泵型號
|
尺寸(mm)
|
重量
(kg)
|
|
A
|
B
|
C
|
|
QJ5-4
|
625
|
370
|
255
|
12
|
|
QJ5-6
|
677
|
380
|
297
|
13
|
|
QJ5-8
|
739
|
400
|
339
|
15
|
|
QJ5-12
|
863
|
440
|
423
|
17
|
|
QJ5-17
|
998
|
470
|
528
|
21
|
|
QJ5-21
|
1122
|
510
|
612
|
26
|
|
QJ5-25
|
1206
|
510
|
696
|
27
|
|
QJ5-29
|
1400
|
620
|
780
|
29
|
|
QJ5-33
|
1484
|
620
|
864
|
30
|
|
QJ5-38
|
1719
|
750
|
969
|
33
|
|
QJ5-43
|
1824
|
750
|
1074
|
35
|
深井泵QJ系列8、不銹鋼深井泵 外形尺寸圖
|
|
泵型號
|
尺寸(mm)
|
重量
(kg)
|
|
A
|
B
|
C
|
|
QJ8-5
|
853
|
400
|
453
|
16
|
|
QJ8-7
|
977
|
440
|
537
|
19
|
|
QJ8-10
|
1133
|
470
|
663
|
22
|
|
QJ8-12
|
1257
|
510
|
747
|
27
|
|
QJ8-15
|
1619
|
510
|
873
|
29
|
|
QJ8-18
|
1383
|
620
|
999
|
32
|
|
QJ8-21
|
1875
|
750
|
1125
|
35
|
|
QJ8-25
|
2043
|
750
|
1293
|
37
|
|
QJ8-30
|
2343
|
840
|
1503
|
43
|
|
QJ8-37
|
2637
|
840
|
1797
|
46
|
|
QJ8-44
|
3011
|
920
|
2091
|
55
|
|
QJ8-50
|
3263
|
920
|
2343
|
58
|
深井泵QJ系列12、不銹鋼深井泵 外形尺寸圖
|
|
泵型號
|
尺寸(mm)
|
重量
(kg)
|
|
A
|
B
|
C
|
|
QJ12-5
|
1005
|
470
|
535
|
21
|
|
QJ12-7
|
1175
|
510
|
665
|
26
|
|
QJ12-10
|
1480
|
620
|
860
|
30
|
|
QJ12-13
|
1805
|
750
|
1055
|
34
|
|
QJ12-15
|
2025
|
840
|
1185
|
38
|
|
QJ12-18
|
2220
|
840
|
1380
|
40
|
|
QJ12-21
|
2495
|
920
|
1575
|
47
|
|
QJ12-25
|
2755
|
920
|
1835
|
50
|
深井泵QJ系列17、不銹鋼深井泵 外形尺寸圖
|
|
泵型號
|
尺寸(mm)
|
重量
(kg)
|
|
A
|
B
|
C
|
D
|
|
QJ17-1
|
708
|
380
|
328
|
96
|
17
|
|
QJ17-2
|
828
|
440
|
388
|
96
|
21
|
|
QJ17-3
|
959
|
510
|
449
|
96
|
28
|
|
QJ17-4
|
1019
|
510
|
509
|
96
|
29
|
|
QJ17-5
|
1190
|
620
|
570
|
96
|
32
|
|
QJ17-6
|
1380
|
750
|
630
|
96/143
|
35/41
|
|
QJ17-7
|
1441
|
750
|
691
|
96/143
|
36/42
|
|
QJ17-8
|
1591
|
840
|
751
|
96/143
|
41/49
|
|
QJ17-9
|
1652
|
840
|
812
|
96/143
|
42/50
|
|
QJ17-10
|
1712
|
840
|
872
|
96/143
|
43/51
|
|
QJ17-11
|
1853
|
920
|
933
|
96/143
|
49/60
|
|
QJ17-12
|
1913
|
920
|
993
|
96/143
|
50/61
|
|
QJ17-13
|
1974
|
920
|
1054
|
96/143
|
51/62
|
|
QJ17-14
|
2000
|
870
|
1130
|
143
|
75
|
|
QJ17-15
|
2061
|
870
|
1191
|
143
|
76
|
|
QJ17-16
|
2121
|
870
|
1251
|
143
|
77
|
|
QJ17-17
|
2182
|
870
|
1312
|
143
|
78
|
|
QJ17-18
|
2292
|
920
|
1372
|
143
|
85
|
|
QJ17-19
|
2353
|
920
|
1433
|
143
|
86
|
|
QJ17-20
|
2413
|
920
|
1499
|
143
|
87
|
|
QJ17-21
|
2534
|
980
|
1554
|
143
|
95
|
|
QJ17-22
|
2594
|
980
|
1614
|
143
|
96
|
|
QJ17-23
|
2655
|
980
|
1675
|
143
|
98
|
|
QJ17-24
|
2715
|
980
|
1753
|
143
|
99
|
|
QJ17-25
|
2826
|
1030
|
1796
|
143
|
106
|
|
QJ17-26
|
2880
|
1030
|
1856
|
143
|
107
|
深井泵QJ系列30、不銹鋼深井泵 外形尺寸圖
|
|
泵型號
|
尺寸(mm)
|
重量
(kg)
|
|
A
|
B
|
C
|
D
|
|
QJ30-1
|
802
|
440
|
362
|
96
|
20
|
|
QJ30-2
|
968
|
510
|
458
|
96
|
28
|
|
QJ30-3
|
1174
|
620
|
554
|
96
|
31
|
|
QJ30-4
|
1400
|
750
|
650
|
96/143
|
35/41
|
|
QJ30-5
|
1586
|
840
|
746
|
96/143
|
40/48
|
|
QJ30-6
|
1682
|
840
|
842
|
96/143
|
42/50
|
|
QJ30-7
|
1858
|
920
|
938
|
96/143
|
49/60
|
|
QJ30-8
|
1954
|
920
|
1034
|
96/143
|
51/61
|
|
QJ30-9
|
2016
|
870
|
1146
|
143
|
75
|
|
QJ30-10
|
2112
|
870
|
1242
|
143
|
77
|
|
QJ30-11
|
2208
|
870
|
1338
|
143
|
79
|
|
QJ30-12
|
2354
|
920
|
1434
|
143
|
85
|
|
QJ30-13
|
2450
|
920
|
1530
|
143
|
87
|
|
QJ30-14
|
2606
|
980
|
1626
|
143
|
96
|
|
QJ30-15
|
2702
|
980
|
1722
|
143
|
98
|
|
QJ30-16
|
2848
|
1030
|
1818
|
143
|
106
|
|
QJ30-17
|
2944
|
1030
|
1914
|
143
|
108
|
|
QJ30-18
|
2100
|
1090
|
2010
|
143
|
117
|
|
QJ30-19
|
3196
|
1090
|
2106
|
143
|
119
|
|
QJ30-20
|
3292
|
1090
|
2202
|
143
|
120
|
|
QJ30-21
|
3388
|
1090
|
2298
|
143
|
122
|
|
QJ30-22
|
3554
|
1160
|
2349
|
143
|
138
|
|
QJ30-23
|
3650
|
1160
|
2490
|
143
|
140
|
|
QJ30-24
|
3746
|
1160
|
2586
|
143
|
142
|
|
QJ30-25
|
3842
|
1160
|
2682
|
143
|
144
|
深井泵QJ系列42、不銹鋼深井泵 外形尺寸圖
|
|
泵型號
|
尺寸(mm)
|
重量
(kg)
|
|
A
|
B
|
C
|
D
|
|
QJ42-1
|
888
|
510
|
378
|
96
|
29
|
|
QJ42-2
|
1111
|
620
|
491
|
96
|
33
|
|
QJ42-3
|
1444
|
840
|
604
|
96/143
|
40/48
|
|
QJ42-4
|
1637
|
920
|
717
|
96/143
|
47/58
|
|
QJ42-5
|
1750
|
920
|
830
|
96/143
|
49/60
|
|
QJ42-6
|
1892
|
870
|
959
|
96/143
|
73
|
|
QJ42-7
|
1992
|
920
|
1072
|
96/143
|
80
|
|
QJ42-8
|
2165
|
980
|
1185
|
143
|
89
|
|
QJ42-9
|
2328
|
1030
|
1298
|
143
|
97
|
|
QJ42-10
|
2441
|
1030
|
1411
|
143
|
100
|
|
QJ42-11
|
2614
|
1090
|
1524
|
143
|
109
|
|
QJ42-12
|
2727
|
1090
|
1637
|
143
|
111
|
|
QJ42-13
|
2910
|
1160
|
1750
|
143
|
127
|
|
QJ42-14
|
3023
|
1160
|
1863
|
143
|
129
|
|
QJ42-15
|
3136
|
1160
|
1976
|
143
|
131
|
|
QJ42-16
|
3319
|
1230
|
2089
|
143
|
145
|
|
QJ42-17
|
3432
|
1230
|
2202
|
143
|
147
|
|
QJ42-18
|
3645
|
1330
|
2315
|
143
|
162
|
|
QJ42-19
|
3758
|
1330
|
2428
|
143
|
164
|
|
QJ42-20
|
3871
|
1330
|
2541
|
143
|
167
|
|
QJ42-21
|
4220
|
1570
|
2654
|
143
|
192
|
|
QJ42-22
|
4337
|
1570
|
2767
|
143
|
194
|
深井泵QJ系列60、不銹鋼深井泵 外形尺寸圖
|
|
泵型號
|
尺寸(mm)
|
重量
(kg)
|
|
A
|
B
|
C
|
D
|
|
QJ60-1
|
878
|
510
|
368
|
96
|
30
|
|
QJ60-2-2
|
1101
|
620
|
481
|
96
|
33
|
|
QJ60-2
|
1231
|
750
|
481
|
96/143
|
35/41
|
|
QJ60-3
|
1434
|
840
|
594
|
96/143
|
41/49
|
|
QJ60-4
|
1627
|
920
|
707
|
96/143
|
48/59
|
|
QJ60-5
|
1690
|
870
|
820
|
96/143
|
72
|
|
QJ60-6
|
1869
|
920
|
949
|
96/143
|
78
|
|
QJ60-7
|
2042
|
980
|
1062
|
143
|
87
|
|
QJ60-8-2
|
2155
|
980
|
1175
|
143
|
88
|
|
QJ60-8
|
2205
|
1030
|
1175
|
143
|
96
|
|
QJ60-9-2
|
2318
|
1030
|
1288
|
143
|
97
|
|
QJ60-9
|
2378
|
1090
|
1288
|
143
|
105
|
|
QJ60-10
|
2491
|
1090
|
1401
|
143
|
107
|
|
QJ60-11
|
2674
|
1160
|
1514
|
143
|
123
|
|
QJ60-12
|
2787
|
1160
|
1627
|
143
|
125
|
|
QJ60-13
|
2900
|
1160
|
1740
|
143
|
127
|
|
QJ60-14
|
3083
|
1230
|
1853
|
143
|
141
|
|
QJ60-15
|
3196
|
1230
|
1966
|
143
|
143
|
|
QJ60-16
|
3409
|
1330
|
2079
|
143
|
158
|
|
QJ60-17
|
3522
|
1330
|
2192
|
143
|
160
|
|
QJ60-18
|
3635
|
1330
|
2305
|
143
|
162
|
|
QJ60-19
|
3988
|
1570
|
2418
|
143
|
188
|
|
QJ60-20
|
4101
|
1570
|
2531
|
143
|
190
|
|
QJ60-21
|
4214
|
1570
|
2644
|
143
|
191
|